Swingset Package J-88-1
Some kids are jolly close to the ground, while others are jollier closer to the sky! With 5 levels, the Jolly Jamboree is sure to please everyone.
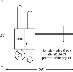
This playset features 5 different levels and small ladders to climb from one level to the nex, along with swings and four slides!

View Swing Set Accessories | Call 717-208-7328






